阿摩線上測驗
登入
首頁
>
教甄◆物理科專業
>
101年 - 國立楊梅高中教師甄試物理科試題#77471
> 申論題
題組內容
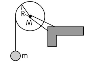
4.如圖所示,一均勻圓盤,半徑為 R,質量為 M,裝於無摩擦的固定軸上。今以細繩繞於圓盤的邊緣,另 一端掛上質量為 m 的物體,今將質量為 m 的物體自靜止釋放,若重力加速度為 g, 試求:
(2)繩的張力量值(5%)。
相關申論題
5.如圖所示,有質量為 M 的楔形木塊置於水平面上,其斜角為 θ,另一質量為 m 的木塊置於楔形木塊的斜 面上,當 m 滑下時,M 向右移動,假設接觸面均光滑無摩擦,地面上觀察者看到 m 的移動方向與桌面 的夾角為 (銳角),且 ,則 =?(5%)
#314048
(1)一彈性常數為 k,長 L 且質量可忽略之彈簧,底端被固定於地面。茲將此彈簧壓縮 D (設 D> ),並以一質量為 m 之鋼珠置於此一被壓縮之彈簧頂端,重力加速度為 g。 當彈簧被釋放,鋼珠上彈,則鋼珠可被彈升的最大位移為何?(5%)
#314049
(2)承(1),若D<,則鋼珠可被彈升的最大位移為何?(5%)
#314050
7.邊長為 的正立方密閉容器中充滿了 He 氣體(設 He 分子的質量為 m),在室溫 t ℃時其壓力為 P,設波 茲曼常數為 k,則每秒鐘有多少 He 分子撞擊容器的 A 面上?(5%)
#314051
8.如圖所示,一個 α 粒子和一個質子,在同一均勻磁場區域中,分別在兩個半徑等大之圓周上, 作順時針方向等速率圓周運動,且兩個圓軌跡在 A 點相切,由於二者運動週期不同,在某時刻恰同時運 動至 A 點而發生相向碰撞,若碰撞前 α 粒子的速率為 5×105 m/s,碰撞後 α 粒子的圓周軌跡轉向不變, 但半徑變小為原本的 1/5,試求 α 粒子碰撞後之速率。(5%)
#314052
9.如圖所示,兩根光滑的金屬軌道(電阻可忽略)置於同一水平面上,距離 =0.1 米,質量為 3 克的均勻金 屬棒置於軌道上,均勻磁場方向垂直於軌道平面向上,磁場強度大小 B=0.1 N/A-m,軌道平面距地面高 h=0.8 米,當電鍵開關 K 接通後,金屬棒被水平拋出,落地點距拋出點的水平距離 S=2 米,若重力加 速度 g=10 公尺/秒 2,試求接通 K 期間,金屬棒上通過的電量為若干庫侖?(5%)
#314053
10. 以波長 10000 埃之單色光垂直照射在一光電管之金屬板上,光之強度為 100 焦耳/米 2 -秒,假定 每個光子打出一個光電子,而金屬板受光照射面積 2.5×10-3 米 2,則光電流約為?安培(5%)
#314054
11.一長度為 L,質量為 m 的金屬桿,其電阻為 R,自靜止沿著無電阻且與水平成傾斜 θ 角的光滑 U 形導電 軌道滑下來,整個結構置於一均勻垂直磁場 B 中,如圖所示。設重力加速度為 g, 軌道甚長,試求金屬桿下滑速率的最大值為若干?(5%)
#314055
1.做直線等加速度行駛之列車通過某路旁號誌,若其前半截車身通過號誌之平均速度 為 10 公尺/秒,而後半截車身通過號誌之平均速度為 15 公尺/秒,則當此列車中點恰 通過該號誌瞬間,列車之速度應為 (1) 公尺/秒。
#314056
2.長度為 l A的閉管(一端閉口,另一端開口),其基音頻率為 f A;長度為 l B 的開管(兩 端開口),其基音頻率為 f B。已知 f A等於 f B,則 l A對 l B 的比值為 (2) 。
#314057
相關試卷
115年 - 115-2 臺北市立成功高級中學_正式教師甄選初試試題:物理科#139963
115年 · #139963
115年 - 115-1 新北市立板橋高級中學_正式教師甄選試題:物理科#139537
115年 · #139537
115年 - 115 新北市公立高級中等學校_教師聯合甄選試題:物理科#139223
115年 · #139223
115年 - 115-1 國立竹東高級中學_教師甄試試題:物理科#138778
115年 · #138778
115年 - 115-1 台北市立中崙高級中學_教師甄選試題:物理科#138762
115年 · #138762
115年 - 115-1 臺中市立豐原高級中等學校_教師甄試試題:物理科#138731
115年 · #138731
115年 - 115-1 臺中市立文華高級中等學校_教師甄選專業知能試題:物理科#138719
115年 · #138719
115年 - 115-1 國立嘉科實驗高級中學_教師甄選試題_高中部:物理科#138701
115年 · #138701
115年 - 115-1 臺南市立沙崙國際高級中學高中部_教師甄選試題:物理科#138688
115年 · #138688
115年 - 115-1 國立屏科實驗高級中等學校_教師甄選:高中物理科#138650
115年 · #138650