題組內容
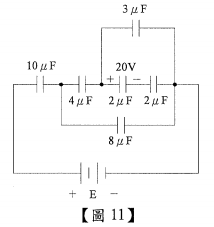
2•如上【圖11】所示,已知圖示其中一
電容器充電電壓為20 V,求下列各值:
電容器充電電壓為20 V,求下列各值:

(4)電源電壓E為多少V? (2分)
詳解 (共 10 筆)
憲章 蔡
詳解 #1760111
承上題
10
的電壓為80V,電量為80*10
=800uC
的電壓為80V,電量為80*10
=800uC800uC=CT*E
E=800/5=160(V)
弘泰
詳解 #1695554
求此題之計算過程
洪偉嘉
詳解 #1706917
160V
不要放棄
詳解 #3116621
add1280
詳解 #2325334
E=160V
dj1120603
詳解 #3077216
160V
李明潔
詳解 #2535561
160
100006036625025
詳解 #3127250
160
BINGXUN
詳解 #3118306
160
107職員已上榜
詳解 #2748963
160V