阿摩線上測驗
登入
首頁
>
工程力學(含靜力學、動力學與材料力學)
> 98年 - 98 專技高考_專利師:工程力學#35592
98年 - 98 專技高考_專利師:工程力學#35592
科目:
工程力學(含靜力學、動力學與材料力學) |
年份:
98年 |
選擇題數:
0 |
申論題數:
8
試卷資訊
所屬科目:
工程力學(含靜力學、動力學與材料力學)
選擇題 (0)
申論題 (8)
【已刪除】一、如圖所示之可調整傾斜面,若物塊與傾斜面間之靜摩擦係數為 s µ ,求當質量為 m 之 物塊開始滑動前斜面與水平之最大夾角θ 。(10 分)
⑴與輪盤接觸的纜繩 C 點之加速度。
。⑵小齒輪 A 的 角速度和角加速度。(20 分)
⑴ 0.30 和 0.28 或
⑵ 0.25 和 0.20,試計算在此⑴或⑵之個別情況下,摩擦力對 板箱所做的功。(20 分)
四、9 kN 的拉力荷重作用在一 50 m 長的鋼纜上,其彈性模數E = 200 GPa,試求此鋼纜 的最小直徑,已知正向應力不可超過 150 MPa,鋼纜之伸長長度不可超過 25 mm。 (10 分)
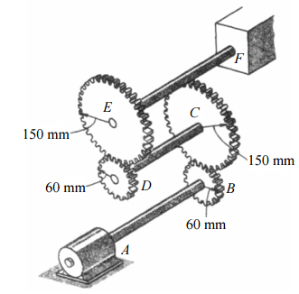
【已刪除】五、三個軸及四個齒輪構成如圖所示的一齒輪軸系,從馬達 A 可輸出 7.5 kW 到 F 機 械上,已知馬達的轉動頻率 30 Hz,軸之容許應力 60 MPa,試求三個軸分別所需之 直徑。(20 分)
【已刪除】六、如圖示的梁 ABC 包含跨距 AB 的簡支部分及外伸的 BC 部分,求在 C 及 D 上的垂直 撓度δ
C
及δ
D
。彈性模數E = 200 GPa,慣性矩 I =118×10
6
mm
4
。(20 分)
相關試卷
114年 - 114 專技高考_機械工程技師:工程力學(包括靜力學、動力學與材料力學)#133710
114年 · #133710
114年 - 114 公務升官等考試_薦任_機械工程:工程力學(包括靜力學、動力學與材料力學)#133242
114年 · #133242
114年 - 114 專技高考_專利師(選試專業英文及工程力學)、專利師(選試專業日文及工程力學):工程力學#130105
114年 · #130105
114年 - 114 關務特種考試_三等_機械工程(選試英文):工程力學(包括靜力學、動力學與材料力學)#126623
114年 · #126623
113年 - 113 臺灣菸酒股份有限公司_從業評價職位人員試題_鍋爐:工程力學#132351
113年 · #132351
113年 - 113 專技高考_機械工程技師:工程力學(包括靜力學、動力學與材料力學)#123897
113年 · #123897
113年 - 113 專技高考_造船工程技師:工程力學(包括靜力學、動力學與材料力學)#123895
113年 · #123895
113年 - 113 專技高考_專利師(選試專業英文及工程力學)、專利師(選試專業日文及工程力學):工程力學#122211
113年 · #122211
113年 - 113 關務特種考試_三等_機械工程(選試英文):工程力學(包括靜力學、動力學與材料力學)#119496
113年 · #119496
113年 - 113 臺灣港務股份有限公司_新進從業人員甄試_師級_機械:工程力學(包括靜力電、動力學與材料力學)#118827
113年 · #118827