阿摩線上測驗
登入
首頁
>
高等工程力學(包括材料力學)
> 101年 - 101 高等考試_二級_土木工程:高等工程力學(包括材料力學)#26351
101年 - 101 高等考試_二級_土木工程:高等工程力學(包括材料力學)#26351
科目:
高等工程力學(包括材料力學) |
年份:
101年 |
選擇題數:
0 |
申論題數:
5
試卷資訊
所屬科目:
高等工程力學(包括材料力學)
選擇題 (0)
申論題 (5)
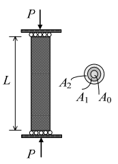
【已刪除】一、如圖示,一根長度為L之圓桿受軸壓,該圓桿之斷面由三種材料(材料 0、1、2)組 成,材料間完全黏結,由內而外其面積分別為
,楊氏模 數分別為
,降伏應力分別為
、
。假設每種材料都為彈性完全塑性(達降伏應力後為一平台),且假設 材料之張、壓應力應變關係相同,且該受壓桿之細長比不大,不需考慮挫屈行為。 如圖示,軸壓由上下兩塊剛性板傳遞,受壓時水平方向可自由運動,另外假設斷面 上之軸應變為均勻分布。當P由零逐漸增加,軸向縮短量逐漸增加,材料也將逐一 達到降伏,試畫出軸力P與軸向縮短量u的關係圖,直到所有材料都達到降伏為止。圖 形中需註明線段中之所有轉折點之座標P
i
及u
i
。注意:所有答案必須以材料 0 的性 質
及長度L表示。(30 分)
⑴若外力 P 不大,不致於造成系統挫屈,試推求小角度自由振動(對底部轉動轉角θ ) 下之運動方程式及自然振動頻率。以上結果必須考慮 P 及剛性桿之質量。(20 分)
⑵若當外力P增加到P
cr
時發生系統挫屈,求挫屈載重P
cr
。(10 分)
【已刪除】三、如圖示,一個半徑為 r 質量為 m 之薄圓板(等厚度且材料也均質)。已知於圖示之 位置,
θ
=30。 且 B 支承之彈簧內力為 2 mg(即 2 倍圓板重量)之壓力。今將 C 支 承突然移去,試問移去之瞬間,圓板之角加速度為何?又此時 A 支承之反力為何? (20 分)
【已刪除】四、考慮一根長度為 L 之線彈性梁,受到均布載重 w 作用,斷面之撓曲勁度為 EI(E 為 楊氏模數、I 為斷面積二次矩)。當a =0.75 L 時,試求 B 支承反力及該梁所受之最 大正彎矩。(20 分)
相關試卷
114年 - 114 高等考試_二級_土木工程:高等工程力學(包括材料力學)#131607
114年 · #131607
113年 - 113 高等考試_二級_土木工程:高等工程力學(包括材料力學)#123080
113年 · #123080
112年 - 112 高等考試_二級_土木工程:高等工程力學(包括材料力學)#116755
112年 · #116755
111年 - 111 高等考試_二級_土木工程:高等工程力學(包括材料力學)#111036
111年 · #111036
110年 - 110 高等考試_二級_土木工程:高等工程力學(包括材料力學)#101929
110年 · #101929
109年 - 109 高等考試_二級_土木工程:高等工程力學(包括材料力學)#91542
109年 · #91542
108年 - 108 公務升官等考試_簡任_土木工程、結構工程:高等工程力學研究(包括材料力學)#80455
108年 · #80455
108年 - 108 高等考試_二級_土木工程:高等工程力學(包括材料力學)#79531
108年 · #79531
107年 - 107 高等考試_二級_土木工程:高等工程力學(包括材料力學)#72426
107年 · #72426
106年 - 106 公務升官等考試_簡任_土木工程、結構工程:高等工程力學研究(包括材料力學)#66336
106年 · #66336