阿摩線上測驗
登入
首頁
>
技檢◆機電整合-乙級
> 105年 - 17000 機電整合 乙級 工作項目 01:自動化機械元件的應用及設計 1-100#41012
105年 - 17000 機電整合 乙級 工作項目 01:自動化機械元件的應用及設計 1-100#41012
科目:
技檢◆機電整合-乙級 |
年份:
105年 |
選擇題數:
100 |
申論題數:
0
試卷資訊
所屬科目:
技檢◆機電整合-乙級
選擇題 (100)
1. 自由流非同步傳送工件,工作站與工作站間設有緩衝區,工件在緩衝區等候之數量,以多少個為宜?(A)1 ~2 個(B)3~5 個(C)6~9 個(D)10 個以上。
2. 自動裝配作業的「裝入」動作要能準確,下列何者較不須考慮?(A)夾具的定位精度(B)夾具的夾住時間(C)一 起配合零件形狀的準確度(D)取放單元連續循環作業精度。
3. 自動裝配作業的「裝入」動作要能順利,下列何者較不須考慮?(A)工件裝入方向的倒角(B)工件夾取與放的 時間點(C)工件夾取與放的距離(D)取放單元裝設順應機構。
4. 自動裝配作業的「裝入」動作,使用最廣的方法是(A)落下裝入(B)推出裝入(C)挾持裝入(D)滑下裝入。
5. 下圖將黑色工件「裝入」的動作,是使用(A)落下裝入(B)推出裝入(C)挾持裝入(D)滑下裝入。
6. 三角形之複斜面投影於三視圖中可得(A)一個三角形面、兩條線(B)兩個三角形面、一條線(C)兩個三角形面、 兩條線(D)三個三角形面。
7. 同一個機件被剖切後,其剖面線應為(A)方向相同,間隔不同(B)方向不同,間隔不同(C)方向相同,間隔相同 (D)方向不同,間隔相同。
8. 有關半徑、球、錐度及斜度之標註,下列何者有誤?(A)R20(B)
∮30(C)
T=1:5(D)
1:5。
9. 使用螺旋彈簧墊圈防止螺帽鬆脫時,墊圈之旋向與螺桿螺紋之旋向關係為何?(A)兩者之旋向相反(B)兩者之 旋向相同(C)兩者之旋向無關係(D)螺桿一定左旋。
10. 重要機件鎖緊時需有適當的緊度,宜使用(A)活動扳手(B)管鉗扳手(C)固定扳手(D)扭矩扳手。
11. 輪與軸之間在傳遞有衝擊性之重負載時,宜使用何種機件連接?(A)銷(B)鍵(C)彈簧(D)螺釘。
12. 有一減速比 e=1/5 之齒輪組帶動一支螺距 p=5mm 之雙線導螺桿,當輸入齒輪轉速 n1=150rpm 時,導螺桿之 螺帽移動速度為(A)100(B)200(C)300(D)400 mm/min。
13. 有一減速比 e=1/5 之齒輪組帶動一支螺距 p=5mm 之雙線導螺桿,當輸入齒輪轉速 n1=200rpm 時,導螺桿之 螺帽移動速度為(A)100(B)200(C)300(D)400 mm/min。
14. 對具有六槽之日內瓦機構,下列敘述何者錯誤?(A)為一種間歇運動機構(B)可做為分度裝置(C)主動輪每轉一 圈可使從動輪轉動 90°(D)日內瓦輪為從動輪。
15. 下列何者不是使用螺紋的功能?(A)緩衝(B)連接(C)測量(D)調整。
16. 下列何者不是使用平墊圈的功能?(A)防止螺帽鬆脫(B)增大受力面積(C)增加單位面積承受之壓力(D)保護工件 表面。
17. 下列何者不是使用聯軸器的功能?(A)調整兩軸心中心線有限角度的偏差(B)調整兩軸心中心線不同心的微量 偏差(C)在兩軸間傳遞運動或動力(D)減少軸的傳動摩擦阻力。
18. 下列何者不是使用彈簧的功能?(A)提高機構剛性(B)吸收震動(C)產生作動力(D)力的量測。
19. 下列何者不是使用軸承的功能?(A)減少軸的傳動摩擦阻力(B)提高機構剛性、吸收震動(C)固定旋轉軸之中心 (D)導正旋轉軸之中心。
20. 有一複式螺旋機構導程分別為 L1、L2 且旋向相反,則其合成導程 L 為(A)L1+L2(B)L1-L2(C)L1×L2(D)L1÷L2。
21. 自行車的後輪是採用何種機構,以確保自行車向前踩時前進、向後踩時不會後退?(A)凸輪(B)棘輪(C)間歇齒 輪(D)日內瓦機構。
22. 下列何種機構能在短距離內傳遞最大的作用力?(A)曲柄滑塊機構(B)搖臂急回機構(C)齒輪齒條機構(D)肘節機 構。
23. 在正投影示圖中,遇有隱蔽的內部結構則用(A)實線(B)虛線(C)雙虛線(D)破折線 表示之。
24. 同一平面上的兩條平行線段,若於三度空間中經由第三角法投影之後,不可能形成:(A)兩點(B)一點與一線 段(C)一條線段(D)兩條線段。
25. 在繪製視圖之線條時,下列敘述何者不正確?(A)當輪廓線與中心線重疊時,應優先畫出輪廓線(B)當輪廓線 與隱藏線重疊時,應優先畫出輪廓線(C)當割面線與中心線重疊時,應優先畫出割面線(D)當中心線與隱藏線 重疊時,應優先畫出中心線。
26. 製圖時,關於尺寸線之敘述何者不正確?(A)尺寸標註應盡量集中於前視圖(B)尺寸線距離視圖之外部輪廓線 約為數字高度的二倍(C)尺寸標註應自視圖外由小至大,較長尺寸線在較短尺寸線外(D)為求慎重,重要尺寸 可在不同視圖重複標註。
27. 下列那種機構可做連續性旋轉輸入與間歇性輸出變換機構?(A)肘節與滑動台機構(B)齒條與小齒輪機構(C)日 內瓦機構(D)單向棘輪機構。
28. 下列那種機構可做往復性輸入與間歇性旋轉輸出變換機構?(A)肘節與滑動台機構(B)齒條與小齒輪機構(C)日 內瓦機構(D)單向棘輪機構。
29. 下列那種機構可做為慢去快回變換機構?(A)齒條與小齒輪機構(B)單向離合器機構(C)搖桿與滑塊機構(D)日內 瓦機構。
30. 下列那種機構可做雙向變換特性但具有反向死點問題?(A)日內瓦機構(B)蝸輪減速模組(C)索引迴轉分度機構 (D)曲柄與直線滑台。
31. 下列那種機構不可做為間歇性輸出機構(分度功能)?(A)日內瓦機構(B)齒條與小齒輪機構(C)索引迴轉分度機 構(D)凸輪機構。
32. 下圖為前視圖和俯視圖,請選出正確的右側視圖(A)
(B)
(C)
(D)
。
33. 有關尺度標註的符號所代表意義,下列何者錯誤?(A)直徑符號以"ψ"表示(B)半徑符號以"R"表示(C)弧長符號 以"︵"表示(D)錐度符號以"⊿"表示。
34. 下列各剖面線,何者是最佳表示法?(A)
(B)
(C)
(D)
。
35.
如左圖為外螺紋之前視圖,下列何者為其正確的右側視圖?(A)
(B)
(C)
(D)
。
36. 依 CNS 規格,S(34)C 表示何種材料?(A)含碳量為 0.34%的碳鋼(B)抗拉強度最小為 34kg/mm
2
的碳鋼(C)含碳 量為 3.4%的碳鋼(D)抗拉強度最大為 34kg/mm
2
的碳鋼。
37. 下列那一敘述較適合用來描述冷作加工?(A)工作溫度高於再結晶溫度(B)工件形狀可大幅度的改變(C)金屬較 易氧化,且精度較差(D)強度硬度增加,但也增加殘留應力。
38. 常用兩視圖表示的零件是(A)多角形體(B)不規則形體(C)柱體(D)球體。
39. 工程圖學中,尺寸數字前加 t 表示(A)間隙(B)斜度(C)頂點(D)板厚。
40. 標準元件中,螺釘或銷等所開之槽或孔,在繪圖時,除非有特殊目的,否則應將其俯視圖予以旋轉(A)15 度 (B)30 度(C)45 度(D)60 度。
41. 用以支持垂直軸底端之軸承為(A)徑向軸承(B)止推軸承(C)滾珠軸承(D)橫向軸承。
42. 二軸間距較遠,而速度比又需要精確穩定時,使用下列何種傳動機構為佳?(A)凸輪(B)線輪(C)鏈輪(D)滑輪。
43. 兩相嚙合之齒輪,需有相同之(A)周節(B)節徑(C)外徑(D)節圓。
44. 下列那一種螺紋最常做為連結機件用?(A)方型螺紋(B)斜方形螺紋(C)V 型螺紋(D)梯型螺紋。
45. 有一曲柄與滑塊機構,其曲柄迴轉半徑 50mm,則滑塊移動最大行程為(A)50(B)100(C)150(D)200 mm。
46. 有一曲柄與滑塊機構,其曲柄迴轉半徑 100mm,則滑塊移動最大行程為(A)50(B)100(C)150(D)200 mm。
47. 可防止齒輪、軸承等機件發生軸向運動者為(A)銷(B)鍵(C)扣環(D)固定螺釘。
48. 下列傳動元件,何者在驅動中不會產生滑動?(A)V 型皮帶(B)平皮帶(C)圓形皮帶(D)齒形皮帶。
49. 下列傳動元件,何者背隙較小?(A)正齒輪(B)斜齒輪(C)螺旋齒輪(D)簡諧齒輪。
50. 下列分度盤傳動組件機構,哪一種精度較高?(A)日內瓦機輪(B)蝸桿與蝸輪(C)棘輪(D)動力輥輪式。
51. 下列何者傳動摩擦力最小?(A)滑動套筒式(B)輥珠套筒式(C)V 型槽滑軌(D)T 型槽滑軌。
52. 兩軸互相平行但不在同一中心線上,且其偏心極微。當兩軸的轉速需要絕對相等時,最適合使用之聯結器 為(A)流體聯結器(B)套筒聯結器(C)歐丹聯結器(D)凸緣聯結器。
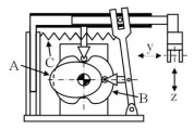
53. 兩軸中心線不在同一直線上,或允許兩軸有少量的平行失準、角度失準及端隙(軸向移動),可防止扭歪 與震動產生,最適合使用之聯絡器為(A)剛性聯結器(B)硬性聯結器(C)撓性聯結器(D)流體聯結器。
54. 歐丹聯結器是一種(A)剛性聯結器(B)硬性聯結器(C)撓性聯結器(D)流體聯結器。
55. 利用聯軸器傳動,兩軸心允許之偏心量為(A)大(B)稍有偏心(C)要完全對心(D)非常大。
56. 下列傳動組合,何者傳動背隙較小?(A)小齒輪與齒條(B)方形螺桿與套筒(C)滾珠螺桿與套筒(D)鏈條與鏈輪。
57. 下列傳動組件何者傳動精度較高?(A)平皮帶(B)V 型皮帶(C)齒形皮帶(D)鏈條。
58. 肘節機構的功能一般應用於(A)夾具(B)調速器(C)分度(D)旋轉機構。
59. 定位銷之設置宜(A)於中心點一支(B)中心線上二支(C)最大距離二支(D)最短距離二支。
60. 於振動場合之二機件結合宜選用(A)固定螺釘(B)斜銷(C)彈簧銷(D)半圓鍵。
61. 從斜坡道連續緊密送料至水平輸送帶,為避免工件瞬間大量落入,可裝置何種機構來處理?(A)換向(B)分離 (C)倉儲(D)平移 機構。
62. 當馬達連接聯軸器驅動導螺桿及平台負荷時,其安裝之偏心度應較聯軸器允許範圍(A)較大(B)較小(C)剛好在 最大範圍(D)無關。
63. 下列何種齒輪組可提供較大的減速比?(A)內齒輪(B)螺旋齒輪(C)斜齒輪(D)蝸桿與蝸輪。
64. 下列傳動機件在運動時何者噪音最小?(A)鏈條(B)齒輪(C)齒規皮帶(D)連桿機構。
65. 散裝機械小零件要進料及姿勢整列,宜採用(A)倉匣(B)輸送帶(C)斜坡滑道(D)震動送料器。
66. 不需加裝動力即可進料,宜採用(A)倉匣(B)輸送帶(C)斜坡滑道(D)震動送料器。
67. 同一種長條片狀板料進料,宜採用(A)倉匣(B)輸送帶(C)斜坡滑道(D)震動送料器。
68. 從斜坡滑道緊密送料,為避免連續大量出料,滑道末端應裝設何種機構?(A)換向(B)分離(C)平移(D)分度。
69. 機械手臂動力軸有直線型(P)及角度型(R),XYZ 軸直角座標型機械手臂是(A)PPP(B)PPR(C)PRR(D)RRR 型機構。
70. 機械手臂動力軸有直線型(P)及角度型(R),多關節座標型機械手臂是(A)PPP(B)PPR(C)PRR(D)RRR 型機構。
71. 機械手臂動力軸有直線型(P)及角度型(R),極座標型機械手臂是(A)PPP(B)PPR(C)PRR(D)RRR 型機構。
72. SCARA 機械手臂的座標型式為(A)直角座標(B)關節座標(C)極座標(D)水平圓筒座標。
73. 機械手臂動力軸有直線型(P)及角度型(R),平面圓筒座標型(SCARA)機械手臂是(A)PPP(B)PPR(C)PRR(D)RRR 型 機構。
74. 裝配用機械手臂之手腕部至少應具有幾個自由度?(A)3(B)4(C)5(D)6。
75. 5 軸關節型機械手臂,包括底部左右、肩部上下、肘部上下、腕部上下及(A)夾爪張合(B)腕部旋轉(C)肘部旋 轉(D)腕部伸縮。
76. 裝配用機械手臂用於零件裝合,若插件有位置偏差問題導致插件困難,應如何解決?(A)腕部加裝遠心順應 器(B)改用低阻尼系統(C)各關節加裝力量感測器(D)調整 PID 控制器。
77. 史都華(Stewart)平台擁有幾個自由度(DOF)?(A)3(B)4(C)5(D)6。
78. 下列何者不是滾珠螺桿設計選用基本條件?(A)定位精度(B)馬達最高轉速(C)摩擦係數(D)最大行程。
79. 下列何者不是滾珠螺桿設計選用基本條件?(A)負荷條件(B)馬達最低轉速(C)平均軸向力(D)螺桿導程。
80. 自由流型自動裝配連續生產線,由於裝配作業時間不穩定,必須要設置(A)緩衝站(B)倉儲站(C)分流站(D)出料 站。
81. 自由流型自動裝配連續生產線,只要完成本工作站的工作,便可隨時將工件移至自動裝配生產線下一站的 是(A)連續性傳送(B)間歇傳送(C)同步傳送(D)非同步傳送。
82. 為使自動站與手工站混合生產,生產線物流方式,宜採用(A)連續性傳送(B)間歇傳送(C)同步傳送(D)非同步傳 送。
83. 生產線物流方式,加工週期時間最快的是(A)連續性傳送(B)間歇傳送(C)同步傳送(D)非同步傳送。
84. 迴轉分度盤送料屬於(A)連續性傳送(B)非連續性傳送(C)同步傳送(D)非同步傳送。
85. 利用托板在輸送帶上送料大都屬於(A)連續性傳送(B)間歇傳送(C)同步傳送(D)非同步傳送。
86. 圓形震動送料機主要是分出(A)不同種類零件之相同姿勢整列(B)同種類零件之一種姿勢整列(C)同種類零件之 二種姿勢整列(D)不同種類零件之二種姿勢整列。
87. 以凸輪做為四分度分割機,(A)分配角為 60 度(B)分配角為 90 度(C)停止角為 60 度(D)停止角為 90 度。
88. 下列何者不是使用軸承的功能?(A)減少軸的傳動摩擦阻力(B)提高機構剛性(C)固定旋轉軸之中心(D)導正旋轉 軸之中心。
89. 下列何者無法做為旋轉分度機構?(A)圓筒凸輪(B)日內瓦輪(C)蝸桿蝸輪(D)行走樑。
90. 定位器、緩衝器上的螺紋是用來做位置微調用,通常使用兩個螺帽,一個是定位用、另一個在(A)防止鬆動 用(B)減少阻力用(C)避免震動用(D)調整距離用。
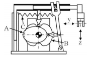
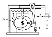
91. 如下圖為一機構可作上下與旋轉運動。1 為旋臂,2 為夾爪,3 為升降/旋轉單元,5 為馬達與齒輪組,則 4 可能為(A)四連桿控制單元(B)凸輪控制單元(C)曲柄與搖桿(D)曲柄與滑台。
92. 如下圖為一機構可作上下與旋轉運動。1 為旋臂,2 為夾爪,3 為升降/旋轉單元,5 為馬達與齒輪組,此機 構為(A)取放單元(P&P)(B)SCARA 機械臂(C)史都華(Stewart)平台(D)惠氏機構(Whitworth)。
93. 如下圖為一機構,以夾爪的爪指為中心點來看,可得到 y 與 z 方向的運動,由圖示可能是馬達帶動何種機 構達成?(A)四連桿控制單元(B)凸輪控制單元(C)曲柄與搖桿(D)曲柄與滑台。
94. 如圖為一機構,以夾爪的爪指為中心點來看,可得到 y 與 z 方向的運動,由圖示凸輪控制單元有幾個凸輪? (A)1(B)2(C)3(D)4。
95. 如圖為一機構,以夾爪的爪指為中心點來看,可得到 y 與 z 方向的運動,由圖示彈簧的作用是(A)協助旋臂 移動(B)支撐夾爪升降(C)確保凸輪接觸(D)避免旋臂移動震動。
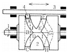
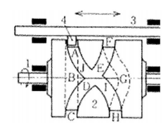
96. 如圖為圓柱型凸輪。從動板 3 可依溝槽輪廓依字母序 A 至 J 而左右移動,其可移動的最大行程為(A)A 至 F (B)B 至 G(C)C 至 H(D)D 至 I 的軸向距離。
97. 如下圖為圓柱型凸輪。當溝槽輪廓從 A,B 至 C 時,從動板 3 的行程為(A)靜止不動(B)向右移動(C)向左移動 (D)左右往復移動。
98. 如圖為圓柱型凸輪。當溝槽輪廓從 C、D、E 至 F 時,從動板 3 的行程為(A)靜止不動(B)向右移動(C)向左移動 (D)左右往復移動。
99. 如圖為圓柱型凸輪。當溝槽輪廓從 G、H、J 至 A 時,從動板 3 的行程為(A)靜止不動(B)向右移動(C)向左移動 6 (D)左右往復移動。
100. 如圖為圓柱型凸輪。當溝槽輪廓從 C、D、E 至 J、A 時,從動板 3 的行程為(A)靜止不動(B)向右移動(C)向左 移動(D)左右往復移動。
申論題 (0)
相關試卷
114年 - 17000 機電整合 乙級 工作項目 08:維修 1-68(2025/12/26 更新)#135806
114年 · #135806
114年 - 17000 機電整合 乙級 工作項目 07:試車與調整 1-65(2025/12/26 更新)#135805
114年 · #135805
114年 - 17000 機電整合 乙級 工作項目 06:控制器的使用 51-118(2025/12/26 更新)#135804
114年 · #135804
114年 - 17000 機電整合 乙級 工作項目 06:控制器的使用 1-50(2025/12/26 更新)#135803
114年 · #135803
114年 - 17000 機電整合 乙級 工作項目 05:電動機選用 101-141(2025/12/26 更新)#135802
114年 · #135802
114年 - 17000 機電整合 乙級 工作項目 05:電動機選用 51-100(2025/12/26 更新)#135801
114年 · #135801
114年 - 17000 機電整合 乙級 工作項目 05:電動機選用 1-50(2025/12/26 更新)#135800
114年 · #135800
114年 - 17000 機電整合 乙級 工作項目 04:電控、感測、轉換元件認識 51-98(2025/12/26 更新)#135799
114年 · #135799
114年 - 17000 機電整合 乙級 工作項目 04:電控、感測、轉換元件認識 1-50(2025/12/26 更新)#135798
114年 · #135798
114年 - 17000 機電整合 乙級 工作項目 03:氣壓、油壓系統、迴路設計 151-177(2025/12/26 更新)#135797
114年 · #135797