所屬科目:鐵路◆基本電學(概要)
1.有關電荷的特性,下列敘述何者錯誤? (A)當絲絹摩擦玻璃棒後,玻璃棒帶正電靜電,絲絹帶負電靜電。 (B)電荷電性同性相斥異性相吸的作用力,稱為靜電力。 (C)無論是摩擦生電或靜電感應,物體內的正負電荷分離但實際電荷總數目並無改變。 (D)一個電子的電量為6.25 × 庫侖。
2.有一單相220V電動機輸入電流為18A,若電動機的效率η為80%,試求此電動機的輸 出功率為多少馬力HP? (A)4.25HP (B)5.14HP (C)6HP (D)10.2HP
4.有一色碼電阻標示為「紅紫橙金」,此電阻值相當於多少歐姆Ω? (A)27kΩ ± 10% (B)27kΩ ± 5% (C)3.8kΩ ± 10% (D)3.8kΩ ± 5%
5.有「銀、金、鐵、韌銅、鋁」五種材料,其導電率由最佳排列順序為下列何者? (A)銀>韌銅>金>鋁>鐵 (B)銀>金>韌銅>鋁>鐵 (C)韌銅>金>銀>鐵>鋁 (D)銀>韌銅>鐵>金>鋁
6.關於電路狀況的描述,下列何者錯誤﹖ (A)帶電體的絕緣部份破損,造成部份電流外漏,稱為「漏電」。 (B)帶電體生鏽或銲點鬆動,造成電壓降或電能損耗,稱為「接觸不良」。 (C)電流沒有經由負載回到電源形成一迴路,總電阻R=0Ω,稱為「短路」。 (D)電流經由負載回到電源發生中斷未形成一迴路,總電阻R=∞Ω,稱為「通路」。
7.有四個1.5V的電池串聯,提供三個電阻分別為2Ω、6Ω、12Ω,此三個電阻採並聯連 接,試求總電流為多少安培A? (A)4.5A (B)5.3A (C)3A (D)0.5A
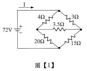
8.如圖【1】所示,試求電流I為多少安培A? (A)6A (B)7A (C)8A (D)9A
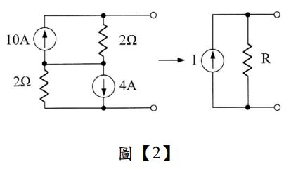
9.如圖【2】所示,試求電流源I為多少安培A與電阻R為多少歐姆Ω﹖ (A)14A,4Ω (B)14A,1Ω (C)6A,4Ω (D)6A,1Ω
10.使用節點電壓法解析電路網路時,首先利用何種定律分析分路電流的算式,再依據克 希荷夫電流定律列出各節點的方程式﹖ (A)分壓定律 (B)分流定律 (C)安培定律 (D)歐姆定律
11.有一電容器儲存電量有40 × C,若外加端電壓250V,試求電容量為多少法拉F﹖ (A)160μF (B)40μF (C) 250μF (D) 7μF
12.電感器的電路特性可將電能轉換成下列何種能量﹖ (A)電能 (B)動能 (C)磁能 (D)位能
13.在電阻電感RL串聯電路中,電感器L充電過程的電流方向與放電過程的電流方向為 何﹖ (A)相反 (B)相差90度 (C)相差45度 (D)相同
14.有一個6極的發電機,當線圈在磁場中旋轉一圈,則會產生多少度的電工角﹖ (A)360度 (B)2160度 (C)1080度 (D)540度
15.某家庭每日用電情形:160W電視5小時、800W冷氣機4小時、5個40W燈泡10小時。假 設電費每度2元,試求每月30日需付電費多少元? (A)240元 (B)360元 (C)480元 (D)510元
16.一般利用交流電表量測交流電壓或交流電流時,得到的量測值為下列何者﹖ (A)有效值 (B)平均值 (C)最大值 (D)波峰值
17.交流發電機之電源頻率f愈高,其轉速n變化為何﹖ (A)愈慢 (B)愈快 (C)無關 (D)0
18.在三相交流電源系統中,其電壓與電壓之間存在的相角差為多少度﹖ (A)0度 (B)90度 (C)120度 (D)360度
19.當帶電金屬球在一封閉的曲面內,其發出的電力線總數與曲面內包含的電荷數相同, 此特性稱為下列何者﹖ (A)克希荷夫電流定律 (B)歐姆定律 (C)庫侖靜電定律 (D)高斯定律
20.有關常見的交流波形之波形因數FF與波峰因數CF,下列敘述何者錯誤﹖ (A)方波之FF=1,CF=1 (B)正弦波之FF=1.11,CF=1.414 (C)三角波之FF=1.155,CF=1.732 (D)脈動直流波之FF=0.231,CF=0.899
21.有一直角座標= −3 + j4,轉換成極座標表示的複數為何﹖ (A)z̅= 5∠−53?? (B)z̅= 5∠53?? (C)z̅= 5∠−37?? (D)z̅= 5∠37??
22.有一交流RLC串聯電路,電流i(t)超前電壓v(t)一個相角Θ,試求此交流電路的特性為 何﹖ (A)電阻性電路 (B)純電阻電路 (C)純電感電路 (D)電容性電路
26.依電工法規規定,單相二線制1ψ2W電源系統中,導線-火線使用的顏色可為下列何 種﹖ (A)白色或綠色 (B)紅色或黑色 (C)白色或紅色 (D)綠色或黑色
27.在電路中可檢測出漏電情形,遇有漏電電流時,會立即切斷電源為下列何種裝置﹖ (A)延長線 (B)保險絲 (C)漏電斷路器 (D)無熔絲開關
28.有一△接三相平衡電力系統,已知每相負載Z = 40∠60oΩ,電源線電壓為250V,試求此負載消耗的總平均功率為多少瓦W﹖(A)880W(B)1867W(C)2344W(D)5431W
29.有關三相3ψ電源系統之特性,下列敘述何者錯誤﹖ (A)三相電源的三組輸出電壓大小相等。 (B)三相電源的輸出功率較單相或二相電源少。 (C)三相電源依據電壓順序分為正相序與逆相序。 (D)三相電源建立的旋轉磁場較單相電源建立的交變磁場穩定且能自行啟動。
30.三相平衡系統採Y接,若線電流為15A,試求相電流為多少安培A﹖ (A)15A (B)15√3A (C) (D)45A
31.在3秒內將10庫侖的電荷由電位10V處移動到50V處,則作功多少焦耳? (A)200焦耳 (B)400焦耳 (C)500焦耳 (D)600焦耳
32.有一導線上之電流為3A,則在10分鐘內流過該導線之電量為多少庫侖? (A)30庫侖 (B)90庫侖 (C)300庫侖 (D)1800庫侖
33.有一1500瓦特的電熱水器,連續使用2小時,如果每度電費為2元,則應繳電費多少元? (A)6元 (B)30元 (C)5元 (D)60元
34.將100V電壓加至某電阻線上,通過之電流為16A,今若將此電阻線均勻拉長,使長度 變為原來的2倍,而接至相同的電壓100V,則通過之電流會變為多少安培? (A)4A (B)6A (C)8A (D)10A
35.有一電熱器之額定電壓為100V,額定功率為1250W,其等效電阻為多少歐姆? (A)2.5Ω (B)5Ω (C)8Ω (D)12.5Ω
36.有一銅線在溫度5.5℃時,其電阻為1.6歐姆,當溫度上升至35.5℃時,則此銅線之電阻 應為多少歐姆? (A)1.8Ω (B)2.8Ω (C)4.5Ω (D)5.3Ω
37.下列何種材料在溫度升高時,其電阻值會下降? (A)金 (B)鋁 (C)銅 (D)矽
38.如圖【3】所示,若 R1 = 4R2,已知R2消耗功率為10W、R1兩端之電壓降為40V,則電壓源E之電壓值為何伏特? (A)30V (B)50V (C)60V (D)100V
39.如圖【4】所示電路,電阻單位為歐姆,則12V電壓源的輸出總電流等於多少安培? (A)10A (B)6A (C)3A (D)1A
40.如圖【5】所示電路,A、B端的總電容量為多少μF? (A)6μF (B)4μF (C)3μF (D)2μF
41.有一個匝數為100匝的線圈,通以10安培的電流,產生0.04韋伯的磁通量,則其自感為多少亨利? (A)0.1亨利 (B)2亨利 (C)6亨利 (D)0.4亨利
42.如圖【6】所示,當可變電阻VR電阻值變大時,流過電阻R的感應電流方向為何? (A)由A流向B (B)由B流向A (C)電流為零 (D)不一定
43.有一線圈其自感量為0.5H,當通過的電流在0.5秒內,由0A增加到15A,則其自感應電 勢為多少伏特? (A)5V (B)10V (C)15V (D)20V
44.一個額定功率100W及額定工作電壓100V的燈泡,試求此燈泡之電阻值為多少歐姆? (A)0.1Ω (B)1Ω (C)10Ω (D)100Ω
45.有三個電阻並聯的電路,其電阻值分別為5Ω、10Ω、20Ω,如果流經20Ω電阻的電流為1A,則此電路總電流為多少安培? (A)3A (B)5A (C)7A (D)9A
46.有一RL串聯電路中,電阻R = 50Ω、電感L = 0.5 H,接上100V直流電源,在接上電源之 瞬間,電感器L兩端電壓為多少伏特? (A)0V (B)100V (C)50V (D)200V
47.某電感性負載消耗之平均功率為600W,虛功率為800VAR,則此負載之功率因數為多 少? (A)0.8 (B)0.6 (C)1 (D)0
48.在RLC串聯電路中,當電源頻率f = 2kHz時,R = 10Ω、 = 4Ω、 = 25Ω,則電路的 諧振頻率為何? (A)2kHz (B)2.5kHz (C)5kHz (D)10kHz
49.如圖【7】所示,將△電路換成等效的Y電路,試求R1電阻值為多少歐姆? (A)20Ω (B)15Ω (C)10Ω (D)5Ω
50.有一串聯電路,其諧振頻率= 1kHz,電阻R = 10Ω,在諧振時 = 400Ω,則頻寬BW 為多少Hz? (A)25Hz (B)40Hz (C)200Hz (D)400Hz